发布时间:2015-01-21 15:19 我来说说 我要投稿
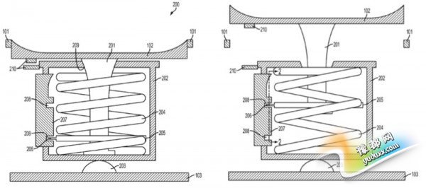
美国专利和商标局(USPTO)在近期公布了苹果的新专利,此项专利可以将iPhone或iPad的Home键变成一个小型的游戏摇杆。全新形式的Home键可以让不愿意携带外接游戏手柄的用户获得更好的游戏体验。

iPad的Home键变身成游戏摇杆(图片来自MacX)
Home键变身成为“多功能输入设备”,除了支持Touch ID和传统的Home功能之外。当用户轻按Home键时,就会弹出一个迷你摇杆供用户在游戏中使用。此项专利可以让玩家更能畅快的在iPad或iPhone上玩游戏。可以规避掉在通过触摸时,手指遮挡了部分的游戏画面。

iPad或iPhone的Home键变身成游戏摇杆(图片来自MacX)
这项专利是苹果公司在2013年夏天提出的申请,由Colin Ely和Fletcher Rothkopf设计而成。不过,这项发明问世时间暂时无法确定,极不可能出现在该公司的下一代苹果产品中。
《Home键一秒变摇杆 苹果新专利只为玩家》由河南新闻网-豫都网提供,转载请注明出处:http://digi.yuduxx.com/ipad/118156.html,谢谢合作!
豫都网版权与免责声明
1、未经豫都网(以下简称本网)许可,任何人不得非法使用本网自有版权作品。
2、本网转载其他媒体之稿件,以及由用户发表上传的作品,不代表本网赞同其观点和对其真实性负责。
3、如因作品版权和其它问题可联系本网,本网确认后将在24小时内移除相关争议内容。